Пн-Чт: с 08:00 до 17:00 <br> Пт: с 08:00 до 16:00
+375 (29) 624-09-45

Коленчатый вал и маховик

  • Коленчатый вал и маховик
  • Модель: Дизели ТМЗ-8421 - 85227
  • Цены и наличие уточняйте по телефонам
  • +375 (29) 655-44-22
  • +375 (29) 624-09-45

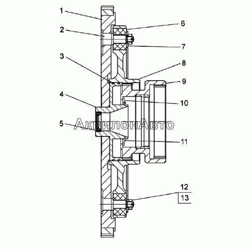
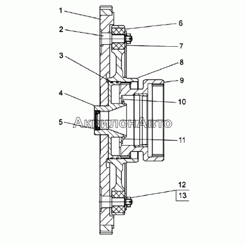
Номер детали Наименование детали
8486.1005115-20 Маховик в сборе
1 8486.1005118-10 Маховик с ободом
2 8486.1605042 Палец
3 2531112228 Кольцо 155-160-36-2-1
4 8486.1005121-10 Фланец маховика
5 240.1307090 Манжета 25х42х10
6 700.00.16.017 Амортизатор
7 8486.1605041 Кольцо
8 8486.1605040 Полумуфта ведущая
9 8486.1605044 Зубчатый венец
10 8486.1605047 Кольцо дистанционное
11 8486.1605048 Кольцо запорное
12 250959-П Гайка М12
13 258039-П29 Шплинт 3,2х20.016

Написать отзыв

Примечание: HTML разметка не поддерживается! Используйте обычный текст.
  Хорошо     Плохо