Пн-Чт: с 08:00 до 17:00 <br> Пт: с 08:00 до 16:00
+375 (29) 624-09-45

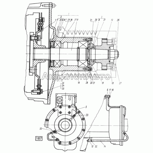
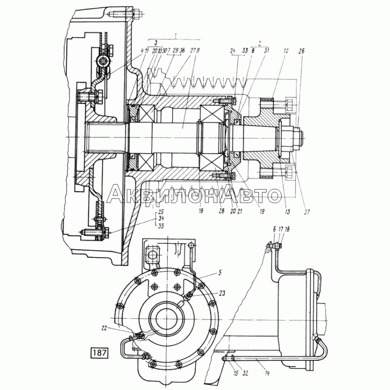
Установка вала съема мощности СМД-31, -31А, -31.01, 31Б.04

  • Установка вала съема мощности СМД-31, -31А, -31.01, 31Б.04
  • Модель: 31 (1998 г. Москва)
  • Цены и наличие уточняйте по телефонам
  • +375 (29) 655-44-22
  • +375 (29) 624-09-45

Номер детали Наименование детали
1465Г05 Шайба
1 31.01-21С5-1 Крышка картера маховика
2 31.01-21С26-1 Корпус манжеты
3 31.01-21С31-1 Крышка картера маховика
4 31.01-21С33-1 Демпфер
5 31.01-21С36 Трубка подвода смазки
6 31.01-21С37 Переходник
7 31.01-2101 Крышка картера маховика
8 31.01-2102-1 Корпус манжеты
9 31.01-2103 Вал шлицевой
10 31.01-2150-1 Корпус манжеты
11 31.01-2155 Кольцо
12 31.01-2170 Ступица шкива
13 31.01-2171 Шайба
14 31.01-2197 Трубка отвода смазки
15 31.01-2198 Рукав 12х20-16
16 СМД7-1590А-01 Болт зажимной
17 СМД7-1591А Прокладка
18 17К-2133 Кольцо
19 20-0445 Гайка
20 14-1066 Кольцо 125-130-33-4
21 14-0405-2 Маслоотражатель
22 23-1338 Ниппель конечный
23 Н-6068 Ниппель конечный
24 М8-6gх25.88 Винт
25 М14-6gх40.88 Болт
26 М30х2-6Н.6 Гайка
27 180312 (6312.2RS) Подшипник
Подшипник Открыть фото
28 3612 Подшипник
29 КГ1/8" Пробка
30 1.2-60х85-1 Манжета
31 2.2-52х75-1 Манжета
Манжета Открыть фото
32 Н-66С1 Хомут стяжной
33 865Г05 Шайба
35 14х3.02 Шайба
36 М12х25.88 Шпилька
37 М30х2-6Н.6 Гайка

Написать отзыв

Примечание: HTML разметка не поддерживается! Используйте обычный текст.
  Хорошо     Плохо