| № |
Номер детали |
Наименование детали |
|
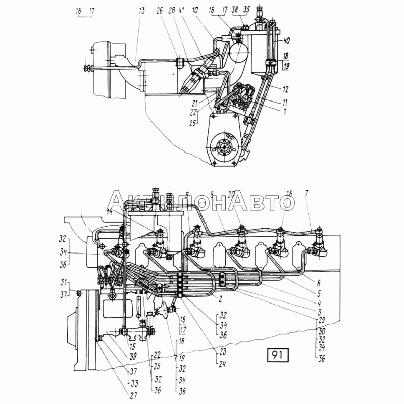
31-15С19 |
Топливопровод слива |
|
|
58.1111004-01 |
Насос топливный |
|
|
581.1111004-01 |
Насос топливный |
|
|
581.1111004-21 |
Насос топливный |
|
|
8х1,5.0.4.05 |
Шайба |
|
| 1 |
31-15С3 |
Топливопровод к первому цилиндру |
|
| 2 |
31-15С4 |
Топливопровод ко второму цилиндру |
|
| 3 |
31-15С5 |
Топливопровод к третьему цилиндру |
|
| 4 |
31-15С6 |
Топливопровод к четвертому цилиндру |
|
| 5 |
31-15С7 |
Топливопровод к пятому цилиндру |
|
| 6 |
31-15С8 |
Топливопровод к шестому цилиндру |
|
| 7 |
31-15С9-2 |
Топливопровод слива |
|
| 8 |
31-15С10-1 |
Топливопровод слива |
|
| 9 |
31-15С11-1 |
Трубка слива из насоса |
|
| 10 |
31-15С12-1 |
Трубка подвода воздуха |
|
| 11 |
31-15С14-2 |
Трубка от фильтра к насосу |
|
| 12 |
31-15С16-1 |
Трубка от помпы к фильтру |
|
| 13 |
31-15С17-1 |
Топливопровод слива |
|
| 14 |
31-15С18 |
Топливопровод слива |
|
| 15 |
СМД7-1539А |
Прокладка |
|
| 16 |
СМД7-1590А-01 |
Болт зажимной |
|
| 17 |
СМД-1591А |
Прокладка |
|
| 18 |
14-1540 |
Планка зажима |
|
| 19 |
31-1501 |
Подкладка |
|
| 20 |
14-1595 |
Болт зажимной |
|
| 21 |
31-1504 |
Кронштейн |
|
| 22 |
31-1508 |
Прокладка |
|
| 23 |
31-1510 |
Прокладка |
|
| 24 |
31-1511 |
Планка зажима |
|
| 25 |
31-1512 |
Планка зажима |
|
| 26 |
20-1504 |
Хомут |
|
| 27 |
54.15.434 |
Прокладка насоса топливного |
|
| 28 |
60-15123.00 |
Кольцо уплотнительное |
|
| 29 |
31-1515 |
Прокладка |
|
| 30 |
60-15198.00 |
Планка зажима большая |
|
| 31 |
М10-6gх85.35 |
Болт |
|
| 32 |
М8-6gх25.88 |
Винт |
|
| 33 |
М10-6gх30.88 |
Болт |
|
| 34 |
М8-6Н.6 |
Гайка |
|
| 35 |
М14-6Н.6 |
Гайка |
|
| 36 |
865Г05 |
Шайба |
|
| 37 |
1065Г05 |
Шайба |
|
| 38 |
1465Г05 |
Шайба |
|
| 39 |
58.1111004-11 |
Насос топливный |
|
| 40 |
25.1117010-03.02 |
Топливный фильтр тонкой очистки ФТ-150А |
|
| 41 |
39.1112010 |
Форсунка ФД-22М |
|